支付宝如何恢复删除账单?支付宝删除账单恢复方法

2022-05-21 08:44:00来源:华军下载作者:xzwh

支付宝安卓版

支付宝安卓版

软件类型:生活休闲 软件大小:121.62MB 软件平台:  PC   Android  软件语言:简体

标签: 支付宝 支付宝app 支付宝安卓版

查看详情

      支付宝如何恢复删除账单?下面小编就为大家详细的介绍一下支付宝删除账单恢复方法,大家感兴趣的话就一起来了解下吧!

      支付宝如何恢复删除账单?支付宝删除账单恢复方法

      1、首先打开电脑浏览器,搜索进入支付宝官方网站,点击【登录】。

支付宝如何恢复删除账单?支付宝删除账单恢复方法

      2、返然后回个人版支付宝后,点击【交易记录】。

支付宝如何恢复删除账单?支付宝删除账单恢复方法

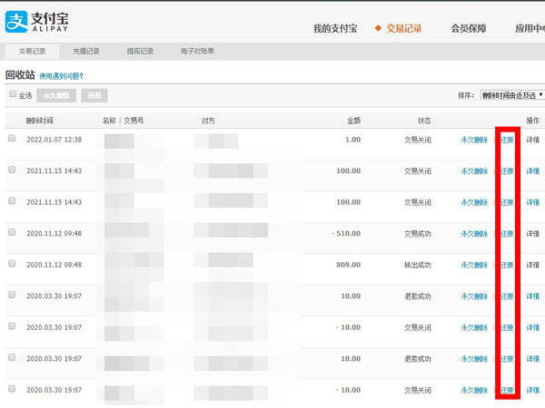
      3、跟着点击【回收站】。

支付宝如何恢复删除账单?支付宝删除账单恢复方法

      4、最后找到已删除的账单,点击【还原】即可。

支付宝如何恢复删除账单?支付宝删除账单恢复方法

      以上就是支付宝删除账单恢复方法,希望对大家有所帮助。