可以这样说,苹果一直以来都在不断申请新专利,以便带来新设备。而截止当前,相信大家已看到了很多有关苹果及其竞争对手正在开发可折叠智能手机的消息。
本周,苹果又获得了一项新的具有柔性屏幕的移动设备的专利,其中描述了各种可能的铰链机构,这可能是可折叠手机最棘手的部分。
可弯曲显示器的原型自2013年就已经出现,而各公司似乎已经准备好将其投入生产。根据报道,三星可能是第一家推出这种手机的公司,华为、小米和Oppo将紧随其后。
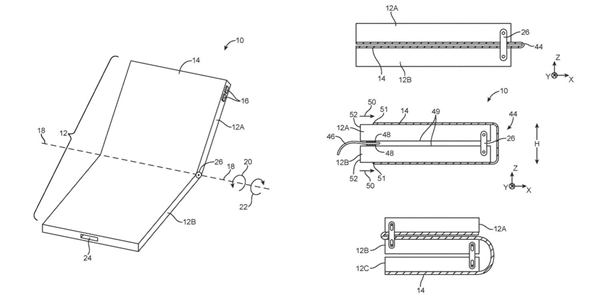
苹果最新的专利被简单地称为“柔性显示设备”,编号为10,104,787。根据专利文件的描述:“柔性显示屏可以安装在与铰链重叠的外壳部分。当设备的壳体部分相对于彼此旋转时,柔性显示屏可能会弯曲。”
如上图所示,iPhone工程师正在考虑所有的可能性。铰链设计可能包括基于三连杆机构的铰链、基于四连杆机构的铰链、具有开槽构件的铰链、由柔性支撑结构构成的铰链以及基于柔性壳体结构的铰链。
根据各种消息来源,苹果公司并不打算在短期内推出可折叠的iPhone,外界推测苹果推出这种设备的最早时间为2020年,甚至更晚。到目前为止,没有任何迹象表明苹果会在2019年推出可折叠iPhone。
当然,苹果何时推出可折叠iPhone也跟可折叠Android手机的受欢迎程度有很大关系,如果苹果的竞争对手获得了成功,苹果可能不得不迅速采取行动来加入竞争。




