据悉,苹果旗下产品对色彩的运用非常考究,也有一些心得,但是,这些年,似乎开始打起了安全牌,少了一些创新。
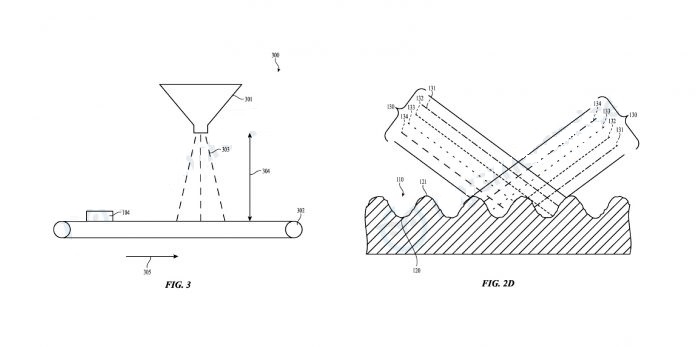
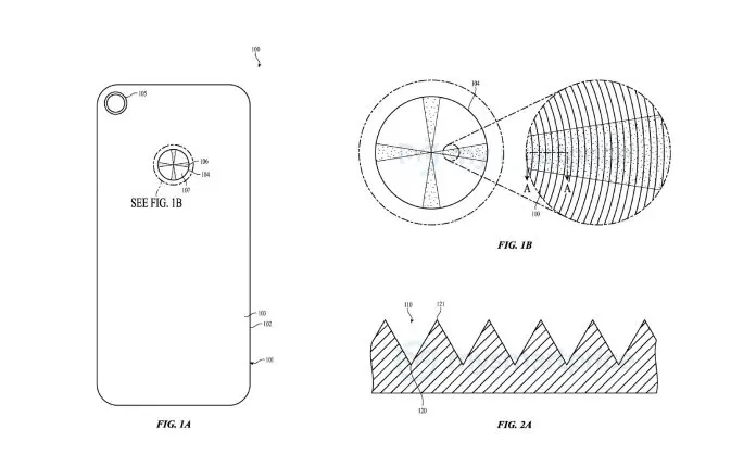
据外媒报道,专利文件显示,苹果提交了一种新的手机表面处理工艺,得以实现的效果就是渐变色。
简单来说,专利涵盖了新的喷砂方法,通过使用陶瓷珠子使得背壳沟槽变得粗糙,从而操纵光线的衍射和反射,形成丰富的纹理和颜色梯度。
不过,渐变色当前已经被大量的智能手机选用,其中尤以国产品牌最盛,比如P20 Pro/Mate 20 Pro的极光色、荣耀10、OPPO R17 Pro等。
当然,究竟能做出怎样的美观效果还是未知数。
另外,专利存在的意义并非是100%转化为商用产品,尤其对苹果来说,每年的iPhone型号有限,发挥空间实在不够广阔。
图为iPhone XS Max金色




