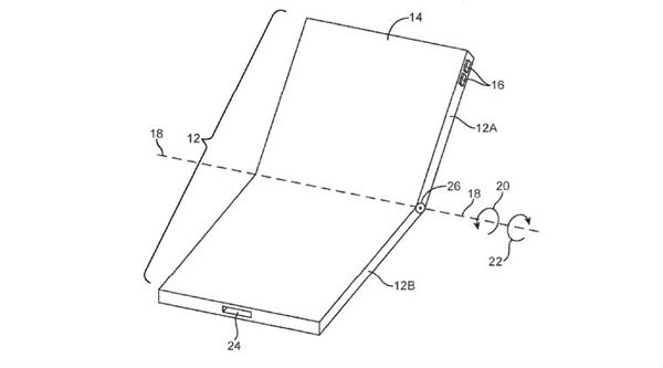
据悉,如今可折叠智能手机非常火爆,各大厂商纷纷开始努力打造。最近,苹果官方更新了一项专利,其中绘制了一款可折叠iPhone的样子。据CNET报道,这是苹果在2011年申请的一项专利的延续。该专利在2016年再次更新,并包含带有可折叠屏幕的iPhone绘图。
分析人士称苹果可能正在研发一款可折叠设备,不过尚不确定这项专利是否预示着拥有可折叠屏的iPhone正在研发中。据了解,不少企业向美国专利商标局(USPTO)申请的专利已于2019年2月14日公布,其中不乏多个可折叠设备的草图。
报道称,苹果并不是唯一一家对可折叠智能手机感兴趣的公司。三星、华为、OPPO、摩托罗拉、vivo和小米都有望在2019年推出可折叠手机。
而就在2月20日(下周三),三星预计将在发布新款Galaxy S10时披露其可折叠手机Galaxy X的更多信息。




