最近,在被公开的专利文件中,摩托罗拉旗下非常经典的RAZR系列,被透露将以折叠屏手机的形态再次复活。在最为畅销的RAZR V3手机上,合盖点亮的外部副屏幕承载了许多人的回忆,根据外媒消息,将要登场的RAZR折叠屏手机也有可能在这块外屏的功能上复刻当年的体验。
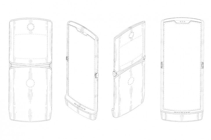
从专利文件中的配图可以看到,全新的RAZR手机是上下折叠的设计,从logo到线条再到元器件放置的位置,设计风格和十多年前的RAZR V3有诸多相同之处。包括手机的“下巴”处同样有一个较明显的凸起部分,算是RAZR翻盖机系列一直以来极具个性的设计特点,也给手机留下了安装元件的空间。
新RAZR似乎还加入了“刘海屏”的设计,外壳中还有另外一个尺寸较小的屏幕,或许是在设备折叠的时候可以进行信息预览。手机外侧有两个摄像头,但并非放在一起而是分别位于设备的两个部分上。整个手机的设计理念更接近于“将正常尺寸的手机变得更小”,而不是三星或华为那样,能将平板变成手机一般大小的折叠屏思路。
此前我们从未了解过RAZR在软件功能上的特点,不过外媒XDA带来了新的消息:虽然这个代号“Voyager”的RAZR新机很大概率上会同样使用安卓系统,但与其他折叠屏手机不同,外屏可能无法使用完整的安卓体验,仅仅可以使用Moto Display、Moto Actions、Moto Camera等系统内置的应用。
这一情况可能是由于外屏尺寸和比例的限制造成的,普通的安卓应用在这样的特殊情况下无法得到正常体验,于是摩托罗拉选择通过适配后的内置应用来提供操作。根据消息,这块外屏在折叠时可以显示6个快捷设置项,显示时间和通知以及音乐播放控件,并且还能设置单独的壁纸。关闭时可以提供触摸板或是拍照按键的功能。
从描述来看,RAZR的外屏选择了像经典RAZR手机那样的辅助显示功能,对于复刻经典的定位来说也是情有可原。综合看来,折叠屏RAZR无论在硬件还是软件,都走了和其他折叠屏手机不一样的路线,折叠时小巧轻便展开后变成正常的手机,或许能给手机的便携性提升带来新的方向




