今日报道,2017年微软带来第四代Surface Pen,此款设备提升了压力、倾斜度的敏感程度。过去近2年后,似乎微软终于有计划要升级这款手写笔了。
根据美国商标和专利局(USPTO)最新公示的技术专利,让我们一窥第五代Surface Pen的新设计、新特性。
这项技术专利表明下一代 Surface Pen将会改善多设备支持,允许新款Surface Pen在Surface之外的设备上使用。多个触敏设备可以包括各种类型的设备,例如智能电话,PC和智能 电视 ,并且可以包括相同类型设备的不同版本或品牌。在一些示例实施例中,用户可以使用多个触敏设备中的一个与触控笔通信并且在设备之间无缝切换。
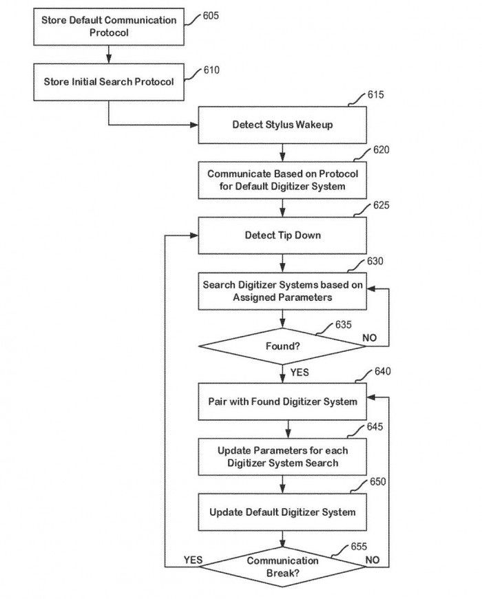
此外 微软 还引入了自动搜索协议。正如名字所示它能够让Surface Pen搜索各种可以进行交互的数字系统。此外该手写笔还能追踪使用并进行学习,这样手写笔就会知道应该主要搜索哪些类型的设备。该搜索协议用于识别可以和手写笔进行交互的数字系统。该搜索协议能够用于搜索各种类型的数字系统。搜索协议的动态更新可以减少手写笔的功耗和处理事件,同时保持手写笔在与各种不同设备的通信以及无缝切换的能力。
另一个有趣的功能就是Surface Pen还能为每个连接的设备创建偏好设置。这些偏好设置将会存储各种配置从而确保用户在不同设备切换的时候能够启用此前的设置选项。这样用户切换同手写笔交互的设备时候,就不需要按下按钮进行启用切换了。




