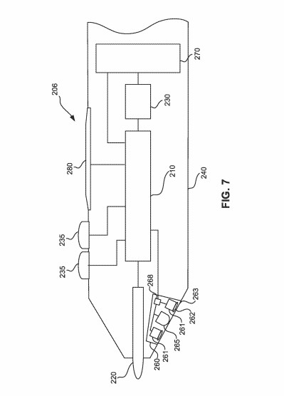
美国专利商标局曾带来一项新专利,这专利开始由微软于2018年晚些时候底提交的。在这份《多功能触控笔》的专利文件中,微软详细介绍了这支疑似新款Surface Pen的新功能:新款触控笔计划取代传统鼠标的所有操作。
据专利文件显示,触控笔顶部有一个独特的“操纵杆”,类似于在笔记本电脑上使用触控板,使用者可以通过移动操纵杆在触控设备上控制光标。同时,操纵杆还可感知施加的外力,进而作为“按钮”来工作。类似于鼠标的点击功能,使用者还可为按钮分配不同的功能。
微软的专利还包括一个概念:即根据笔尖是否与触摸屏接触来改变无线传输数据的方式。根据笔尖的接近程度,触控笔将自动在静电通道和无线通道之间切换数据传输方式。
此外,这份专利文件中还提到了另一个想法,在触控笔中加入一个可以精确检测和跟踪移动的光学传感器。光学传感器收集的数据将通过附加的无线发射机配置传输,该专利还详细说明了如何使用触控笔控制电路进而控制传感器输出的传输。




